St. Augustine's Family Services
PROPERTIES

STOCKS

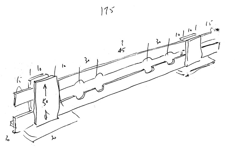
Here's the original sketch for our stocks ;

working sketch of the construction.

Dimensions are in centimetres; all the wood was fairly light so that we could easily carry the stocks about.

( Click the picture for a separate version. )

The final version differed only slightly from the sketch :

  1. Changes for easy portability :
  2. Change for comfort : nail blocks of wood just below the leg-holes in the bottom board so that legs aren't resting just on the rather narrow wooden board.

Examples

We used the stocks in one of our services :


2006 October